Конструктивные особенности
Чтобы техническая система правильно функционировала, в ней предусмотрены такие приспособления:
- сопло для подачи песка с керамическим или стальным наконечником,
- рукоять с курком для управления аппаратом,
- штуцеры для подключения шлангов, необходимых для подачи сжатого воздуха и песка,
- шланги для поступающего абразива и нагнетаемого воздуха,
- заборный патрубок или всасывающий клапан,
- емкость для песка с выходным отверстием (например, небольшая металлическая бочка или бутылка).
Идеальный вариант – использовать самодельный пескоструй не на открытом воздухе, а в специальной камере, что повысит эффективность работы и снизит расход абразива. Камерой может служить ящик из металлических листов, который сваривают самостоятельно. Большинство моделей заводских камер включают такие элементы:
- смотровое окно из стекла для контроля процесса обработки материалов,
- систему освещения,
- два отверстия для перчаток, в которые ставит руки мастер,
- решетка снизу камеры и желоб для ссыпания отработанного песка,
- систему вентиляции для удаления пыли.
Сопло лучше приобрести в готовом виде, а не изготавливать самостоятельно, так оно прослужит дольше. Вручную сделать сопло достойного качества почти невозможно. Компрессор тоже придется купить, либо взять старое устройство, имеющееся в наличии.
Как установить пескоструй на «Керхер» и другие альтернативные варианты изготовления
Изобретатели, которые любят самостоятельно собирать инструменты из подручных средств или других приборов, предлагают в работе использовать самые различные материалы. Таким образом, им удается изготавливать устройства разных видов, например, пескоструйный пистолет с мешком для сбора песка, позволяющий применять абразив несколько раз подряд, или разнообразные аппараты рециркуляционного типа. При этом зачастую в работе используются приборы, предназначенные совсем для других целей.
Одним из хороших примеров является самодельный пескоструй, изготовленный на основе мойки высокого давления. Чаще всего для работы берется оборудование фирмы «Керхер». В итоге получается собрать беспылевой пескоструйный аппарат, позволяющий эффективно очистить даже сложные загрязнения.
Мойка в процессе работы создает высокое давление воды, при этом актуально, что расход жидкости – минимальный. Для того чтобы получить эффективно работающую беспылевую установку, потребуется собрать пескоструйную насадку на выходную трубу. Помимо этого, понадобятся и другие комплектующие:

Одним из вариантов самодельного пескоструя, является устройство изготовленное на основе мойки высокого давления
- самодельное или керамическое сопло;
- качественный армированный шланг;
- узел для смешивания, можно использовать обыкновенный тройник, главное – выбрать деталь нужно диаметра;
- блок регулировки подачи, который представляет собой цилиндрический дозатор;
- труба для забора песка, дополненная трактом подачи воздуха в закрытую емкость с абразивом.
Готовый пескоструй водяного типа из мойки будет работать по эжекторной системе. В этом случае вода под высоким давлением в процессе быстрого прохождения сквозь блок смешивания создает вакуум в узле подачи абразивного материала. После этого песок вместе с водой выбрасывается под высоким давлением.
Среди особенностей использования подобного прибора можно выделить следующий момент: несмотря на небольшой расход воды, абразив подается очень интенсивно. Это позволяет не только чистить поверхности, но и матировать стекла.
Полезный совет! Чтобы устройство, сделанное из мойки высокого давления, стабильно подавало абразив, нужно использовать мелкий песок равномерной дисперсии. Для бытовых работ подойдет мелкий, просеянный речной песок.

С помощью пескоструя изготовленного из «Керхера»можно не только чистить поверхности, но и матировать стекла
Как сделать инструмент из продувочного пистолета и краскопульта
Другой вариант – пескоструй из продувочного пистолета, отличающийся высокой эффективностью, но при этом небольшими габаритами. Особенно прибор ценится автолюбителями, занимающимися кузовными работами. Для изготовления подготавливают следующие детали:
- продувной пистолет пневматического типа;
- тройник для сантехнических работ;
- шаровый кран, при помощи которого будет регулироваться подача абразива;
- выходное сопло с прижимной гайкой.
В качестве резервуара для абразивного материала подойдет легкий баллон от огнетушителя или даже обыкновенная пластиковая бутылка. После соединения всех деталей прибор подключается к компрессору.

На основе краскопульта также можно изготовить пескоструйный аппарат
Еще один популярный вариант изготовления заключается в использовании в качестве основы краскопульта. Помимо него, следует подготовить и другие элементы:
- рукоятку, оснащенную механизмом подачи воздуха;
- клапан для смешивания, который берется из пистолета-краскопульта;
- емкость для абразива;
- тройник;
- шаровый кран-регулятор.
Начать работу необходимо с проточки пистолета краскопульта, чтобы была возможность использования сопла нужных размеров. После подготовки детали к пистолету подсоединяется тройник для смешивания. В конце крепятся шланги, обеспечивающие поступление и циркуляцию. Пуск подачи абразива осуществляется при помощи кнопки курка. Объема маленького резервуара хватит для очистки небольших деталей или поверхностей на протяжении получаса.
Следуя инструкциям, можно создать мощный пескоструй для масштабных работ или сделать устройство попроще. В этом случае все зависит от навыков и деталей, которые имеются в наличии. Перед выбором конкретной конструкции лучше сразу определиться с фронтом работ, которые планируется решать при помощи прибора.
Что понадобится?
Мастера рекомендуют делать сопла из импортных свечей «Чемпион» и «Брикс» с длинным внутренним изолятором. Из отечественных свечей трудно извлечь сердечник. Он имеет расширения и небольшие анкера для прочного соединения с керамикой. Поэтому при попытке вытащить металлический сердечник изолятор часто колется. Такая свеча надежнее для своего основного применения, но хуже подходит для переделки.
Материалы
Кроме свечи, потребуются отрезные диски для углошлифовальной машины (болгарки): по металлу и алмазный по бетону для резки керамики.

Инструменты
Потребуются:
- Тиски, в которых зажимают свечу.
- Углошлифовальная машина (болгарка).
- Пассатижи.
- В отдельных случаях может потребоваться газовая горелка.
Виды камер
Пескоструйная камера может быть локальной или объёмной (обитаемой). Локальные камеры предназначены для обработки небольших изделий. Обитаемые камеры имеют большой внутренний объём, куда можно поместить, например, кузов легкового автомобиля. Оператор при работе находится внутри такой камеры, поэтому ему потребуется набор определённых защитных аксессуаров – шлема, очков, перчаток для пескоструйной обработки и т. д. Впрочем, возможно и дистанционное управление процессом подобной очистки (об этом – далее).
В локальных камерах пескоструйная обработка выполняется путём создания внутри рабочего пространства пониженного давления воздуха. В условиях такого искусственного разрежения вследствие разности давлений происходит выброс песчаной струи из сопла с требуемыми показателями скорости и давления. Перемещая наконечник сопла по определённой траектории, оператор производит обработку поверхности заготовки. Естественно, что в таких эжекционных камерах легко выполнять очистку небольших по площади изделий.

Преимущества локальных камер:
- Компактность.
- Малые финансовые и материальные затраты при самостоятельном изготовлении.
- Повышенная безопасность работающего, и окружающей среды.
- Пониженные энергетические издержки, поскольку потребуется небольшая мощность всасывающего компрессора.
- Удобство и простота регенерации песка для повторного применения.

Обитаемые камеры решают более крупные задачи. Их объём должен быть весьма точно рассчитан, чтобы не только свободно расположить внутри очищаемый объект, и предусмотреть места для перемещения рабочего, но и обеспечить нужный воздухообмен. Камеры для пескоструйной обработки обитаемого типа работают по принципу нагнетания рабочей смеси, и поэтому называются напорными. Их производительность в разы превосходит аналогичный параметр для камер эжекторного типа. Соответственно также возрастают затраты электроэнергии (требуется гораздо более мощный компрессор), увеличивается расход песка и его потери. Проблемой встаёт и утилизация песка, загрязнённого продуктами очистки, что, в свою очередь, требует обязательного наличия эффективных фильтрующих систем.
Это интересно: Обратный клапан муфтовый: особенности конструкции и сферы применения
Как сделать своими руками
Как сделать самодельный автомобиль
При наличии всех исходных комплектующих и выборе правильной схемы сборки самостоятельно изготовленный пескоструйный аппарат практически не будет уступать фабричным образцам по своим возможностям.

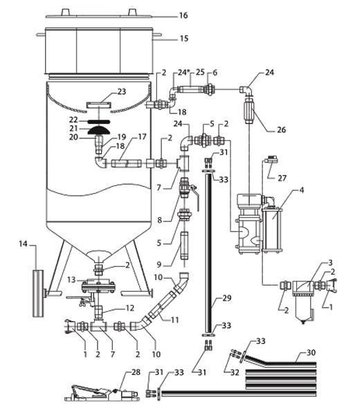
Для изготовления пескоструйного аппарата своими руками потребуются следующие детали и материалы:
- газовый или фреоновый баллон (в качестве емкости для песка);
- компрессор;
- шаровые краны;
- отрезок водопроводной трубы (диаметром 2 дюйма) с резьбовой заглушкой на одном конце;
- 15-миллиметровые стальные тройники;
- армированный шланг;
- форсунка;
- резиновые шланги для подачи воздуха;
- штуцера;
- средство герметизации резьбовых соединений (например, фум-лента).
В первую очередь нужно освободить баллон от остатков газа, после чего выкрутить из него вентиль.
Совет! Чтобы исключить возможность пожара или взрыва, нужно выкачать из баллона воздух с остатками газа с помощью компрессора.
В подготовленном баллоне высверливаются два отверстия: 12-миллиметровое в донной части – для подачи абразивной смеси из баллона, второе, двухдюймовое – на месте снятого вентиля. К верхнему отверстию приваривается отрезок водопроводной трубы для загрузки абразивного вещества в пескоструйный аппарат. В середине трубы сверлится отверстие, к нему приваривается труба в 15 мм, на свободном конце которой нарезается резьба и монтируется шаровой кран и тройник. К нижнему отверстию приваривается тройник для соединения баллона с компрессором и распылителем.

Баллон оснащается ножками или упорами, которые обеспечат устойчивость в процессе работы, также возможен вариант изготовления единой рамы с колесами для баллона и компрессора, чтобы обеспечить мобильность готового устройства.
Компрессор для пескоструйного аппарата может быть как покупным, так и изготовленным кустарно из подходящих комплектующих, например, из пневматического привода грузового автомобиля, электродвигателя и ресивера. Главное, чтобы нагнетатель имел мощность не менее 3 КВт и подавал воздух с производительностью около 500 литров в минуту.
Еще одним узлом будущего пескоструйного аппарата, к которому предъявляются высокие требования, является распылитель. Форсунка отвечает за конфигурацию абразивной струи, которая обеспечит наилучшее удаление посторонних веществ с поверхности очищаемой детали. Серийно изготавливаемые инжекторы выполнены из стали, покрытой слоем карбида вольфрама или бора, что гарантирует высокую износостойкость. Если возможность приобрести готовую форсунку для пескоструйного аппарата отсутствует, можно выточить ее на токарном станке или сделать самостоятельно из автомобильной свечи зажигания.

Примечание! Под воздействием абразивного потока самодельные пескоструйные форсунки быстро приходят в негодность, поэтому при интенсивном использовании аппарата заранее обеспечьте запас сменных форсунок.
Далее, основные части пескоструйного аппарата соединяются между собой: резиновый шланг от компрессора прикручивается к свободному концу верхнего тройника. Верхний тройник соединяется воздушной магистралью с нижним. К последнему свободному отверстию нижнего тройника прикручивается один конец металлизированного рукава, с другого конца рукава устанавливается форсунка для распыления абразивной смеси. В процессе сборки резьбовые соединения уплотняются фум-лентой.
Подробную информацию об устройстве самодельной пескоструйной установки из газового баллона можно посмотреть на следующем видео:
После пробного запуска для проверки надежности конструкции и герметичности соединений самодельный пескоструйный аппарат готов к использованию.
- Яндекс Навигатор для Андроида: где скачать, как установить и пользоваться
- Как подобрать песок для пескоструйного аппарата
- Цены на оборудование для шиномонтажа
- Сколько нужно вложить, чтобы открыть шиномонтаж
Основные типы компрессоров для пескоструйного аппарата>
В аппаратах для пескоструйной обработки используется в основном 2 типа компрессоров:
- винтовые;
- поршневые.
В большинстве случаев при самостоятельном изготовлении отдают предпочтение поршневым вариантам. Эти компрессоры отличаются высокой производительностью, но вот воздух в магистраль подается определенными толчками. Для устранения такой проблемы дополнительно устанавливается ресивер.
![]()
В устройствах для пескоструйной обработки применяются винтовые и поршневые компрессоры.
Некоторыми пользователями также отмечается, что у поршневых приборов иногда случаются проблемы с подачей масла. Это приводит к появлению влаго-масляного конденсата. Следствием такого нюанса становится образование комков в абразивном материале, из-за чего возможен выход инструмента из строя.
Принцип работы пескоструйного аппарата с винтовым компрессором несколько иной. Здесь в основе прибора лежат 2 шестерни червячного типа, вращающиеся в разные стороны. Главное преимущество состоит в отсутствии шума и лишних вибраций. Именно по этим причинам, если планируется собирать пескоструйный мини-аппарат для домашнего использования, лучше выбирать именно винтовой компрессор.
По типу питания компрессоры делятся на дизельные и электрические. Каждый из вариантов отличается своими преимуществами и недостатками. Если планируется собрать небольшой мобильный прибор, лучше отдать предпочтение дизельному варианту, основное преимущество которого – отсутствие привязки к сети 220 В.
Соответственно, устройство будет удобно переносить по участку, например, для снятия краски с забора или ворот. Другое преимущество дизельного компрессора – способность автоматически управлять оборотами двигателя. Это дает возможность регулировать и экономить расход топлива.
![]()
При самостоятельном изготовлении пескоструйки отдают предпочтение поршневым компрессорам.
Достоинство электрического компрессора – меньшие затраты на топливо, но постоянно присутствует подвязка к наличию розетки электросети. Использовать его можно при любых температурах, в то время как для работы дизельного прибора в морозных условиях придется дополнительно приобретать установку холодного старта и предварительного подогрева. Дизельные механизмы очень не любят низкие температуры.
Если хочется максимально сэкономить, можно сделать устройство своими руками, используя подручные комплектующие. В частности, для работы подойдут готовые компрессорные головки, которые снимают с тормозного пневматического прибора таких автомобилей, как ЗИЛ и МАЗ. Зачастую их можно найти на старых разборках, на барахолках или на сайтах объявлений. Для нормальной работы головки потребуется оборудовать ее ресивером, а также рамой для удобного крепления остальных элементов конструкции.
Какие понадобятся комплектующие: как выбрать компрессор для пескоструйного пистолета
Компрессор – наиболее важная деталь, потому как работать пескоструйный аппарат без данного элемента не будет. Поэтому к выбору следует подходить обдуманно, хотя бы по той причине, что стоит устройство довольно дорого.
Следует помнить, что именно от этого комплектующего будет зависеть производительность прибора. Многие не советуют изготавливать своими руками компрессор для пескоструя, мощность которого составляет 500 л/мин. Оптимально, когда показатель находится на уровне 700 литров. Необходимо также учесть, что эта мощность должна сохраняться и при давлении 8 бар. Основными элементами, влияющими на соотношение уровня давления и объема, являются:
Самой важной деталью в работе пескоструйки является компрессор
- диаметр абразивного и воздушного шланга;
- материал, используемый для изготовления сопла;
- длина магистрали;
- тип и вид абразивного материала.
Важный критерий, от которого зависит выбор и работа компрессора, – диаметр сопла. Чем показатель больше, тем выше давление; тем быстрее, соответственно, получится очистить поверхность
Следует также обращать внимание и на показатели давления – здесь все зависит от типа обрабатываемого материала
В таблице показано, какого давления будет достаточно для обработки различных поверхностей:
| Тип поверхности | Необходимое давление, бар |
| Бетон, искусственный камень | 3-5 |
| Металлические поверхности | 8 |
| Поверхности, устойчивые к механическим воздействиям | 12 |
Лучше брать аппарат с определенным запасом мощности, потому как не всегда получается предварительно продумать, где придется использовать пескоструй, тем более что можно сделать прибор любой мощности.
Как сделать пескоструй своими руками
В действии самодельный пескоструйный аппарат проявляет себя не хуже покупного, если он сконструирован правильно. Ниже приведен способ создания простого мини-пистолета.
Установка сопла
Необходимо приобрести готовый распылитель с соплом. Если в комплекте имеется два сопла разного размера, нужно взять то, что больше.
Монтаж переходника
Для правильной работы распылителя следует поставить переходник с наружной резьбы на внутреннюю. Обычно для этой цели годится переходная муфта размером 1 см, которую надо обмотать ФУМ-лентой по часовой стрелке с целью герметизации. Далее нужно затянуть муфту при помощи пассатижей.

Вырезание заготовки топорища
Для экономии абразива можно отрезать сопло на 0,5-1 см длины, используя шлифовальную машинку с отрезным диском. Для удобства работы рекомендуется зажать сопло в тисках.
Создание резервуара из бутылки
Взять бутылку на 0,5 л из пластика, отрезать ножом кольцо от крышки, убрать его. Просверлить дырку на месте расположения этого кольца насквозь, взяв сверло на 3 мм, а затем расширить отверстие сверлом на 4,8 мм. Бутылку при этом также следует держать в тисках.
Засыпка абразива
Заполнить бутылку песком или иным абразивом (например, стеклянным). Делать это следует, поставив на бутылку воронку из пластика или листа бумаги. После нужно ввести в высверленные дырки сопло, приклеить его термоклеем.
Проверка изделия
По мере готовности насадки мини-пистолет подключается к компрессору. Для проверки устанавливается невысокий показатель давления и проводится тестирование на любой старой, загрязненной или окрашенной детали. Обязательно нужно использовать респиратор, очки, прочную одежду, чтобы не нанести вред здоровью при работе с пескоструем.

Альтернативные методы изготовления пескоструйного аппарата
Существуют разные варианты создания пескоструев, которые можно применять в условиях домашней мастерской.
Из мойки высокого давления
Аппарат для чистки песком можно соорудить из минимойки типа «Керхер» или устройства иной марки. Мойка для машины создает большое давление воды при малом расходе, поэтому прекрасно подходит для изготовления аппарата
Важно применять самый мелкий песок равномерной дисперсии, например, хорошо просеянный речной
Чтобы сделать пескоструй, надо собрать насадку для выходной трубки автомойки. Следует докупить такие комплектующие:
- керамическое сопло;
- шланги армированные;
- дозатор цилиндрического типа;
- блок смешивания (тройник нужного диаметра).
Вместо воздуха за подачу песка в данном пескоструйном аппарате будет отвечать вода. Жидкость под давлением станет проходить через блок смешивания, создавать вакуум в шланге подачи абразива. В результате песок начнет выбрасываться с большой силой и выполнять шлифовку, полировку, очистку, матирование поверхностей.
Из продувочного пистолета
- сантехнический тройник;
- кран шаровый для регулирования подачи песка;
- выходное сопло с прижимной гайкой;
- пластиковая бутылка в качестве емкости для песка.
После соединения деталей нужно подключить пистолет к компрессору и провести пробную пескоструйную очистку, засыпав предварительно песок в бутылку и регулируя интенсивность работы при помощи курка.
Из краскопульта
Для создания пескоструя этого типа потребуется простой краскопульт-распылитель, а также:
- шаровый кран-регулятор;
- тройник сантехнический;
- шланги армированные;
- компрессор.
Для сборки устройства надо проточить пистолет краскопульта под сопло нужного размера, установить два шланга (для циркуляции воздуха и подачи абразива) и подключить компрессор. Пуск подачи песка будет осуществляться при простом нажиме курка краскопульта.
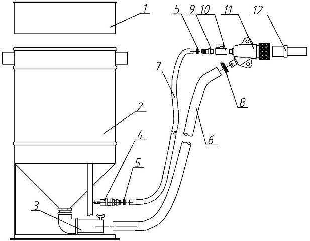
Из газового баллона
Пескоструй напорного типа из баллона – одна из самых простых, но надежных конструкций, которую можно сделать самостоятельно. Надо подготовить такие комплектующие:
- шаровые краны – 2 штуки;
- баллон газовый небольшого размера;
- труба для создания воронки на баллон;
- тройник сантехнический;
- рукава 14 и 10 мм для подачи воздуха и песка и штуцеры к ним;
- хомуты для крепления рукавов;
- ФУМ-лента.
Из баллона удаляют все содержимое, очищают его изнутри с помощью подходящих моющих средств. Сверху баллон спиливают болгаркой в соответствии с диаметром купленной трубы. Внизу делают еще одно отверстие для соединения с краном.
Следующим этапом устанавливают кран, приваривая регулятор или накручивая через трубку-переходник. Присоединяют тройник, смесительный блок, уплотняют резьбу ФУМ-лентой. На вентиль баллона накладывают кран, затем тройник. Для удобства перемещения аппарата приваривают колесики, а для улучшения устойчивости – опоры из уголков, арматуры.
В окончание работы соединяют трубки для подачи воздуха и песка – ставят штуцеры на тройник и вентиль газового баллона, при этом располагая рукав на 14 мм между смесительным блоком и тройником. Компрессор подсоединяют к свободному ответвлению тройника, а на третий конец монтируют шланг для песка.
Из огнетушителя
Данная установка собирается аналогично огнетушителю. Чтобы загерметизировать верхнюю часть, нужно заранее создать заглушку при помощи токарных станков. На заглушку следует надеть резиновое кольцо-уплотнитель, вкрутить его в горловину огнетушителя. Это отверстие подойдет для засыпания песка. Далее надо просверлить дырки на корпусе у верха и в днище, предварительно зачистив эти зоны от старой краски. На дно можно приварить ножки из труб, арматуры. После установки тройников и шлангов можно будет использовать пескоструй по назначению.
Пескоструйный аппарат: принцип работы
похоже на конструкцию краскопульта
Вот, по сути, и весь принцип работы агрегата. Исходя из этого, изготовить пескоструй будет не сложно. Однако, для его работы необходим компрессор. Он обеспечивает подачу воздуха под необходимым давлением. Поскольку изготовить такое устройство будет весьма затруднительно, рекомендуем его просто купить в специальном магазине. При покупке ориентируйтесь, что его мощность должна быть не меньше 3 КВт, а также он должен иметь систему принудительного охлаждения.
Виды пескоструйных агрегатов
Человек, который собирается своими руками собрать пескоструй должен знать как можно больше об этих инструментах, в том числе о его видах. Различают:
-
всасывающие модели, которые используются для несложных работ по очистке поверхностей. Их отличает то, что воздух сначала забирает песок из емкости, а затем подает в сопло. Этот вариант легко собирается своими силами.
- пескоструйки вакуумного типа отличает возможность многоразового использования песка: выброшенный через сопло, он вновь засасывается в контейнер через специальную камеру и вновь идет в работу.
- пескоструйки пневматического типа. Они имеют огромные мощности и давление в емкости, так как рассчитаны на обработку запущенных деталей или большой по площади поверхности. Аппараты такого типа можно даже не пробовать собирать самому.
Необходимые детали для сборки пескоструйного аппарата своими руками
подходящую емкость для песка
Обратите особое внимание на выбор сопла. Недорогие детали недолговечны, поскольку изготовлены из чугуна или керамики
И уже через несколько часов более менее интенсивной работы они придут в негодность. При покупке сопла отдайте предпочтение моделям из бора или карбида вольфрама. Они рассчитаны на сотни часов работы.
Также для сборки пескоструйки вам понадобятся:
- зажим цанговый;
- штуцеры к шлангам;
- рукав газовый длиной пять метров и диаметром 10 мм внутри;
- усиленный резиновый шланг с диаметром внутри 14 мм и длиной 2 метра;
- краны шаровые S 111;
- пятисантиметровый кусок трубы ДУ 15 для водопровода с резьбовым соединением и заглушкой (это будет горловина);
- еще кусок такой же трубы с тремя бочатами;
- фумлента для герметизации соединений.
Приступаем к сборке пескоструйки
Начнем с подготовки выбранной емкости. Если в баллоне раньше был пропан, то его остатки необходимо выпустить, и только после этого спилить горло. Пропустить внутрь шланг и компрессором прокачать баллон, чтобы при сварочных работах не произошло воспламенения. Баллон, в котором был фреон, не требует предварительной подготовки.
В подготовленной емкости друг напротив друга делают отверстия: на месте крана диаметром, подходящим для трубы, и на дне диаметром 1 см 2 мм. Привариваем отверстия и вот горловина готова. Снизу к отверстию привариваем трубу, следим за герметичностью. Баллон ставим на треногу или на колеса для устойчивости и перемещения.
Далее, монтируем остальные детали: на резьбовые концы труб наматываем фумленту для герметичности и прикручиваем краны. Устанавливаем штуцеры на тройник и в один сразу вкручиваем шланг 14-миллиметровый, а во второй сначала вставим медную трубку, а потом шланг.
К оставшемуся штуцеру подсоединяем шланг и закрепляем его хомутом. С противоположной стороны устанавливаем ёмкость для абразива, на конец шланга прикрепляем цанговый зажим, в который закрепляем сопло.
На вход для подачи воздуха устанавливаем тройник и кран с баллоном для песка. Первый выход с тройника подсоединяется к компрессору, а второй к ёмкости.
Видео пескоструя своими руками более подробно ознакомит вас с процессом сборки.
При соблюдении всех рекомендаций в итоге получается аппарат, мало чем уступающий заводским моделям.
Описанный выше аппарат рассчитан на довольно интенсивную работу. Если же вам нужно очистить небольшую поверхность, то можно собрать совсем простой инструмент, состоящий из пластиковой бутылки, шарового клапана и тройника. Понадобится также корпус от краскопульта, который необходимо расточить под диаметр сопла. После соединяем штуцеры и рукоятку. Имейте в виду, что такого приспособления надолго не хватит.
Подведем итоги
Привет всем любителям самоделок. Как известно в каждой мастерской есть инструменты, без которых никак не обойтись, в данном случае речь пойдет о струбцине. Подробно рассказывать для чего она нужна и почему так необходима в каждой мастерской я не буду, скажу вкратце, что с ее помощью можно зафиксировать любой предмет для его обработки, а также склеивания материалов. В этой статье я пошагово расскажу, как сделать F-образную струбцину своими руками, имея при этом минимум деталей и потратив на это копейки, также все необходимые детали могут быть у вас в мастерской, что существенно удешевляет сборку такой самоделки.
Для того, чтобы сделать F-образную струбцину своими руками, понадобится:
* Лист металла толщиной 5 мм * Углошлифовальная машинка * Отрезной диск * Тиски * Сварочный аппарат, электроды * Краги, сварочная маска * Уголок металлический 50 мм и 40 мм * Металлический прут диаметром 25 мм * Эксцентрик от ролика-натяжителя ГРМ
Вот и все, что нужно для сборки такого полезного инструмента.
Шаг первый.
Первым делом необходимо сделать сам каркас струбцины. Делается он из листа металла толщиной 5 мм, что для не такой большой струбцины вполне будет достаточно. Размечаем эскиз F-образной струбцины и при помощи углошлифовальной машинки вырезаем составные части. Длину берем произвольно, так как она зависит от ваших целей, но рекомендую делать не больше 50 см, так как далее конструкция будет не такой жесткой. Из того же листа металла вырезаем уголки, к которым потом нужно будет приварить лапки для плотного прижатия.
Затем к уголку 40 мм привариваем шток, на котором в дальнейшем будет находиться эксцентрик с ручкой.
Шаг третий.
Для лучшего сваривания делаем канавки при помощи УШМ в местах соединения и при помощи сварочного аппарат привариваем готовые детали.
Не забывайте о средствах индивидуальной защиты, краги и защитная маска обязательны.
Далее привариваем к эксцентрику, сделанному из 25-го прута, металлическую ручку.
Шаг четвертый.
К уголкам, как к подвижному, так и неподвижному, привариваем небольшие «лапки», которые будут прижимать деталь, при желании можно сделать насечки на их поверхности. После сварки всех деталей, получается такая струбцина.
Данная самоделка полностью готова, но в некотором времени она была доработана, о чем я сейчас и расскажу.
Перед тем, как продолжить, предлагаю посмотреть видео по доработке струбцины.
Шаг пятый.
Так как эксцентрик был сделан из незакаленого металла, то износ данной детали был неизбежен, в момент прижатия металл потихоньку изнашивался и появлялась выработка.
На этом у меня все, данная струбцина готова и в завершении ее можно покрасить, что слегка преобразит ее и увеличит срок службы. Надеюсь самоделка вам понравилась и вы с удовольствием повторите ее сборку у себя в мастерской.
Всем спасибо за внимание и удачных самоделок








































