Процесс изготовления
Когда чертеж вашего будущего гидравлического пресса готов, а все необходимые материалы, инструменты, оборудование и комплектующие в наличии, переходят непосредственно к изготовлению. Первое, что необходимо сделать, – это нарезать весь металл, руководствуясь размерами, указанными в чертеже.
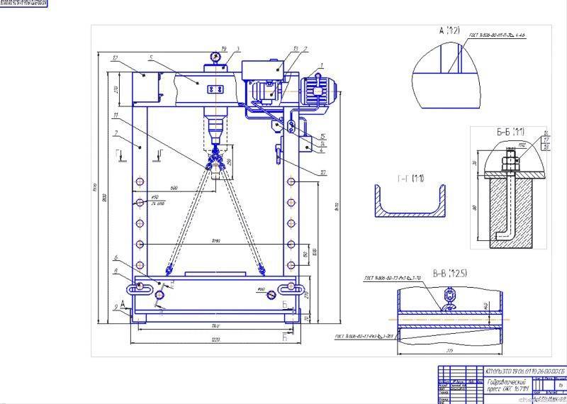
Один из вариантов чертежа для изготовления пресса
Теперь следует сделать основание пресса, для чего сваривают между собой подготовленные квадратные трубы, а на сформированный из них прямоугольник наваривают стальную пластину. Затем сваривают между собой боковые и верхнюю часть рамы, тщательно следя за тем, чтобы полученная П-образная конструкция была ровной и имела строго прямые углы в соединениях. Теперь полученную конструкцию следует приварить к основанию и можно считать, что рама для вашего гидравлического пресса готова.
Следующий элемент, который вам необходимо будет сделать для пресса, – это подвижная платформа. Для ее изготовления можно использовать швеллер, квадратную или прямоугольную трубу. В центральной части платформы приваривают отрезок трубы, который будет служить гнездом для головки штока домкрата. Для изготовления направляющих для рабочей платформы вам потребуются две стальные полосы, длина которых должна соответствовать ширине рамы пресса по ее внешнему контуру.
Вариант конструкции пресса с подвижной нижней платформой, фиксация которой производится болтами
Полосы крепят к боковым сторонам передвижной платформы при помощи болтовых соединений, предварительно заведя ее внутрь рамы. По такой же схеме изготавливается и съемный упор, но в его направляющих полосах просверливаются отверстия напротив стоек рамы для фиксации на нужной высоте. Завершает процесс изготовления гидравлического пресса своими руками установка оттягивающих пружин и самого домкрата. Удобен такой гидравлический пресс еще и тем, что вы всегда сможете извлечь из него домкрат (например, если вам необходимо использовать его для ремонта автомобиля).
Внешний вид готового самодельного пресса
Всем привет, в этой инструкции мы рассмотрим процесс изготовления очень простого пресса для гаража
С помощью него можно очень удобно небольшими усилиями снимать или устанавливать подшипники, причем не важно, работать нужно с валом или втулкой. Сделан станок из очень простых материалов, в качестве основного силового элемента используется гидравлический домкрат. Если проект вас заинтересовал, предлагаю ознакомиться с ним более детально
Если проект вас заинтересовал, предлагаю ознакомиться с ним более детально.
Материалы и инструменты, которые использовались автором:
Список материалов:– швеллер (на 80);– профильная труба (квадратная, 40Х40, толщина стенок 3 мм);– стальной уголок;– гидравлический домкрат;– болты, гайки и другие мелочи.
Список инструментов:– сварочный аппарат;– ленточный отрезной станок или болгарка;– сверлильный станок;– гаечные ключи.
Шаг первый. ОснованиеВ качестве основания нам понадобится кусок швеллера на 80 размерами 40 см. В нем нужно будет просверлить отверстия, в них будут устанавливаться матрицы для установки или снятия подшипников.
Шаг третий. НаправляющаяОсталось сделать направляющую, на которую мы будем устанавливать домкрат. Автор ее делает также из профильной трубы. На концах направляющей установлены специальные кронштейны из уголка, благодаря которым направляющая ездит вверх/вниз по стойкам. А чтобы направляющую можно было снять, она крепится к кронштейнам при помощи болтов с гайками. В завершении автор устанавливает пружины, чтобы направляющая сама возвращалась в исходное положение. Пружины должны быть довольно мощными, так как нужно поднимать домкрат и преодолевать давление штока.
Под шток, кстати, в верхней части нужно сделать специальный упор, для этого подойдет кусок круглой трубы по диаметру штока.
Шаг четвертый. ИспытанияВот и все, наш чудо-станок готов, можно испытывать. Для начала автор попробовал снять подшипники со старого якоря, сделать это съемниками не получалось. Его станок с легкостью справился с этой задачей.
В качестве еще одного примера автор запрессовал подшипник в стальную втулку, это получилось быстро и качественно.
Вот и все, проект на этом можно считать оконченным, надеюсь, он вам понравился. Удачи и творческих вдохновений, если решите повторить. Не забывайте делиться своими самоделками с нами.
Принцип работы гидравлического пресса
использоваться в домашних условиях
- штамповка;
- ковка;
- выгибание;
- выдавливание профилей;
- прессовка различных предметов.
Кроме того, прессовка может использоваться для пакетирования различных предметов из древесины, металла и пластика.
Гидравлический пресс используется почти на любом производстве, но и в быту он находит своё применение. Преимущество такого оборудования в законе гидростатики, который, в свою очередь, облегчает прессовку предметов с любой плотностью. Принцип работы заключается в том, что гидравлический пресс давит в одну конкретную точку и тем, самым повышает КПД, в другом месте на предмете. Таким образом, можно производить разнообразные действия от сгибания до прессования предмета, прилагая минимальные усилия.
Вся конструкция включает в себя небольшое количество деталей, но главные из них это два поршневых цилиндра, которые отличаются друг от друга своим диаметром. Внутри поршней, находиться обычная вода или масло. Жидкость позволяет действовать закону гидростатики. Это позволяет усиливать КПД и на предмет, уже будет действовать сила в несколько тонн. Структура гидравлического пресса подразумевает работу в двух плоскостях, но чаще всего применяется вертикальный тип оборудования, и реже горизонтальная модель.
Конструкция
Исследуя варианты, как сделать пресс из домкрата своими руками, остановить выбор можно на одной из распространённых схем.
Пресс своими руками из домкрата чертежи:
Автомобильный подъёмник крепится основанием к верхней траверсе. На направленном вниз штоке фиксируется пуансон. Это простейшая схема, пользующаяся широкой популярностью. Пользователи подчёркивают высокую надёжность такого устройства, а также устойчивость к вибрации.
В числе недостатков конструкции – сложный демонтаж в случае, когда домкрат понадобится для обслуживания автомобиля, а также неудобство при качании рычага в перевёрнутом состоянии.
Пресс из домкрата своими руками с подвижным столом. Домкрат может вообще не фиксироваться на основании, и снять его для использования по прямому назначению элементарно. Качать рычаг просто, поскольку домкрат расположен штоком вверх.
Однако и в этом случае есть недостаток: традиционно пресс воздействует на обрабатываемую деталь сверху вниз, и смена направления для некоторых операций недопустима.
Пресс своими руками из домкрата, установленного на подвижной траверзе. Достоинством является распределённая нагрузка, передаваемая не точечно, а посредством широкой платформы.
Ручка домкрата качается в обычном режиме, но в несколько непривычных условиях, поскольку силовой блок всё время медленно перемещается вниз.
Как сделать гидравлический пресс для макулатуры своими руками: чертежи
В последние годы объем различной бумажной продукции, которую использует человек в своей жизни и работе, постоянно увеличивается. Выбрасывать ненужные газеты, журналы и прочую макулатуру – не рационально, ведь используя обычный гидравлический пресс, из нее можно сделать брикеты для отопления дома.
Стоимость подобных станков для макулатуры на рынке достаточно высокая. Но каждый, кто умеет работать со сварочным аппаратом, имеет некоторые знания из гидравлики и располагает необходимыми материалами и чертежами, может сделать такое устройство своими руками.
Работа изготовленного собственноручно гидравлического пресса основана на передаче усилия при перекачке той или иной жидкости: масло перекачивается под давлением из цилиндра, воздействуя на поршень. В результате этого и происходит сильное воздействие на макулатуру, в результате чего она спрессовывается.
Любой фирменный или сделанный своими руками пресс состоит из таких основных частей:
- гидравлический насос или домкрат с гидроцилиндрами;
- станина и каркас;
- электродвигатель;
Перед тем как приступать к самостоятельному изготовлению гидравлического пресса, проводят требуемые расчеты, определяются с объемом цилиндров и камеры для загрузки макулатуры, создается схема будущего станка.
При отсутствии технического или инженерного образования сделать это своими руками сложно, поэтому лучше воспользоваться готовыми чертежами.
Разработка основания и опорной платформы
Сам процесс изготовления такого станка начинается с разработки пресс-формы: она представляет собой металлический короб прямоугольной формы, дно и крышка которого – съемные. Размеры такой формы определяют размеры брикетов макулатуры, которые можно будет делать с его помощью. Поэтому ее высоту и ширину каждый определяет своими руками.
Основание и опорная платформа для домкрата или гидронасоса должны быть максимально прочными, поскольку именно на них приходиться получаемое давление при работе пресса.
Чтобы сделать такие части гидравлического пресса, можно использовать обычный металлический профиль прямоугольного или квадратного сечения. Отрезав несколько деталей нужной длины, их прикладывают один к другому боковыми стенками, сваривая с обеих сторон швы сварочным аппаратом.
Из таких же элементов можно сделать и стойки упора, которые нужно приварить к основанию производимого гидравлического станка.
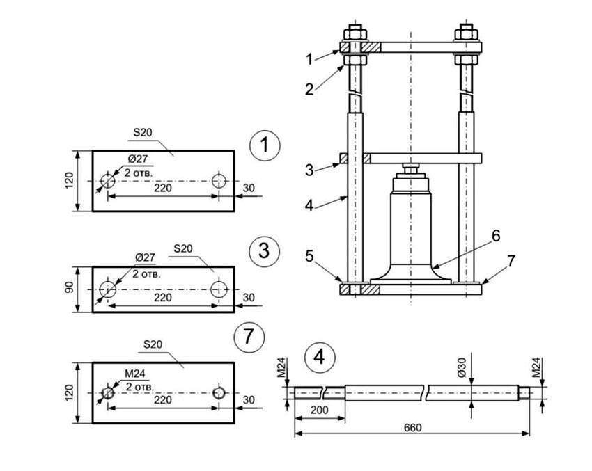
Следующий этап – разработка съемного упора, который будет перемещаться по стойкам, передавая при этом давление от домкрата на обрабатываемый материал. Для этого подойдут отрезки стальной полоски, длина которых должна быть немного меньшей, чем расстояние между стойками. Соединив сваркой такие отрезки, такая самостоятельно сделанная деталь фиксируется для перемещения по стойкам. Для этого используются две стальные пластины, длина которых равна длине упора вместе с шириной стоек. Проделав отверстия в этих пластинах и упоре, при помощи обычных гаек они соединяются между собой так, чтобы пластины располагались по обе стороны стоек.
Последний этап самостоятельной разработки гидравлического пресса – установка домкрата. Мощность такого станка будет зависеть только от мощности используемого домкрата. Для достижения высокой мощности работы аппарата потребуется использование электропривода. В результате этого можно будет прессовать различную макулатуру своими руками, используя получившиеся брикеты как эффективный вид топлива.
Готовый гидравлический пресс
Устройство и функции гидравлического пресса
Гидравлический пресс – это такое оборудование, которое специально предназначено для обработки деталей и заготовок путем воздействия на них высоким давлением. Работает такой пресс за счет давления жидкости, воздействующей на элементы его конструкции.
Конструкция большинства гидравлических прессов предусматривает вертикальное расположение рабочего цилиндра, но есть и модели, в которых он расположен горизонтально. Различные модели прессов могут создавать рабочие усилия в диапазоне от нескольких десятков до нескольких тысяч тонн.

Вариант исполнения гидравлического пресса заводского производства
Принцип действия гидравлического пресса основан на законе Паскаля, известном нам из школьного курса физики. Конструкцию пресса составляют две рабочих камеры разного размера или, как их еще называют, цилиндры. Принцип работы гидравлического пресса, если описать его несколькими словами, заключается в следующем.
В меньшем из его цилиндров создается высокое давление рабочей жидкости, которая по соединительному каналу подается в камеру большего диаметра и воздействует на поршень, соединенный с рабочим инструментом. Последний и оказывает давление на обрабатываемую деталь, которая располагается на жесткой опоре во избежание ее перемещения под его действием. В качестве рабочей жидкости во всех гидравлических прессах используются специальные масла.

Принцип работы гидравлического пресса
Наиболее широкое применение гидравлические прессы нашли при выполнении таких операций над металлическими деталями, как штамповка, ковка, правка, гибка, выдавливание труб и других профилей. Кроме того, при помощи таких прессов выполняется брикетирование, пакетирование и прессование различных материалов (как правило, для этих целей используется мини-пресс).
Устройство гидравлического пресса позволяет активно использовать его как на предприятиях по производству изделий из резины, пластика и древесины, так и в других областях. Разнообразие функций и сфер применения этого оборудования определяют существование его различных модификаций. Например, в продаже можно найти пресс гидравлический настольный, мини-пресс, пресс гидравлический напольный, пресс гидравлический ручной, прессы с манометром и без.
Пресс для отжима
Это лучший способ обработки выращенного урожая. Соковыжималкой не всегда можно справиться с переработкой плодов. Особенно, если объём работ предстоит внушительный.
Как сделать пресс для сока своими руками? Прежде, чем ответить на этот вопрос, разберём, какие бывают модели. Оборудование для отжима принято делить на следующие виды:
- механические;
- гидравлические;
- пневматические.
Последние два типа могут иметь как ручной, так и электропривод.
Вот инструкция из серии «делаем пресс для отжима своими руками»:
-
Ремонт компрессоров своими руками: основные виды неисправностей и способы их устранения (видео и 90 фото)
-
Ковка своими руками: лучшие идеи, стильные варианты, нюансы, секреты и хитрости применения (75 фото и видео)
-
Удивительные изобретения своими руками: 105 фото, варианты изобретений и схемы изготовления в домашних условиях
- Подготовьте ёмкость необходимого вам объёма для измельченных плодов. Подойдёт барабан от старой стиральной машинки. Просверлите на его стенках ряд отверстий.
- Найдите тару большего размера, но без днища. Также проделайте в ней отверстия.
- Вставьте одну посудину в другую, поместив между их стенками брусок дерева.
- Из пиломатериала сделайте П-образную раму. На её перекладине установите толстый металлический круг и надёжно зафиксируйте его.
- Поместите обе ёмкости внутрь большого пластикового таза, в дне которого проделайте отверстие для стекания отжимаемой жидкости. Не забудьте закрепить саму трубку.
- Раму забетонируйте. На её корпус установите получившуюся конструкцию.
- Приготовьте тару для сбора сока и опустите в неё свободный конец трубки. Простейшее пневматическое устройство готово!
Разновидности оборудования для производства кирпича
Кирпичи, как правило, делают в заводских условиях на специальном оборудовании. Тем не менее, существует технология, которая позволяет изготавливать данный строительный материал из глины в домашних условиях своими руками. Чтобы это сделать, нужен только специальный кирпичный пресс. Его сегодня можно приобрести у специализирующихся на таком оборудовании фирм. Хотя никто не запрещает сделать такой пресс своими руками. Для этой цели понадобится совсем немного: достаточное количество материала (это могут быть, например, листы стали) и сварочный аппарат.
Перед тем как раскрыть секреты создания самодельного станка для кирпича, расскажем про их конструктивные элементы. Так, данная установка представляет собой пресс, оснащенный вращающимся основанием. Вращение происходит по типу револьвера. В основании установлены приёмные формы, в которые подается специальная смесь. Пока основание вращается, в одной ячейке происходит прессование материала, а в свободные формочки засыпается смесь. С другой стороны установки достается готовое изделие. С помощью такого станка для кирпича можно достаточно быстро получать партию изделий средних размеров.
Для изготовления кирпичей нередко используют шнековый пресс. В этом оборудовании практически все процессы происходят автоматически. Корпус такого пресса обычно делается из чугуна. Кроме того, в конструкции имеется шнековый вал и нагнетатель. Чтобы получить изделие, сначала должна быть загружена глиняная масса
Причем важно, чтобы она имела влажность от 19 до 24%. На выходе получается изделие в виде прессованного бруса
Он разрезается на несколько одинаковых частей, чтобы получились кирпичи. Иногда брус не разделяют на части, а используют целиком в качестве отдельного строительного блока.
Существует ещё специальное оборудование для изготовления гиперпрессованного кирпича. Этот пресс позволяет максимально сжать сырье, в результате чего получается очень прочный кирпич. По данной технологии могут изготавливаться пустотелые и полнотелые (цельные) блоки. Последние из них считаются самыми востребованными.

В глину могут быть подмешаны самые различные дополнения. Как правило, чаще всего добавляется шлак. Но за последнее время при прессовании кирпича в глину также стали включать такие компоненты, как камыш либо солома. Это делает производство более дешевым, кирпичи приобретают некоторые полезные качества.
Каково устройство гидравлического пресса и как его сделать
Пресс на гидравлическом приводе в сельской местности вообще незаменим. А изобрели его еще в далеком 1975 году. Принцип его работы состоит в задействовании сообщающихся цилиндров с поршнями разного диаметра. При чем, чем меньше давящий, т.е. гидронасос и больше принимающий – гидроцилиндр, тем сильнее будет создаваться давление при меньшем усилии. По сути это можно сравнить движение автомашины на пониженной передаче.
Принцип работы гидравлики – так намного понятнее
Наиболее распространенной формой гидропресса, как уже упоминалось, стала прямоугольная рама. И основная задача при ее изготовлении – точные расчеты. Первым делом необходимо, конечно же, составить схему будущего пресса, т.к. без нее сложно будет разобраться со всеми соединениями. От того, насколько подробной она будет, зависит и качество, и скорость сборки агрегата.
Все элементы конструкции изготавливаются должны быть стальными, толщиной не меньше 15 мм. Делается это для того, чтобы каркас не повело при работе, ведь усилие будет прилагаться значительное. Основное, что необходимо продумать – это саму конструкцию. При этом необходимо помнить о том, что гидравлические домкраты предназначены именно для работы в вертикальном положении и набок их класть нельзя, как и устанавливать штоком вниз.
Работы по механике с гидропрессом становятся значительно проще
В идеале должна получиться следующая конструкция. Прямоугольная, вытянутая вверх рама закреплена на станине. Внутри рамы вертикально по краям, расположены 2 направляющие, по которым ходит вверх-вниз горизонтальная перекладина. На ней, сверху, закреплен гидравлический домкрат, а сама поперечная балка подвешена к верхней части рамы пружинами, которые обеспечивают обратный отжим поперечной балки при ослаблении домкрата.
Идеальный образец самодельного гидравлического пресса
Таким образом произведенный гидравлический пресс будет давить вниз при «накачивании» домкрата и подниматься вверх при его ослаблении при помощи пружин. К низу балки можно приварить крупную гайку, куда будут в последующем накручиваться различные наконечники, необходимые для той или иной работы.
Если под рукой имеются отдельно гидроцилиндр и гидронасос, тогда можно сделать более удобный агрегат. Ведь в таком случае появляется возможность установки педали, и при производстве работ обе руки остаются свободными, что иногда бывает крайне необходимо.
Вообще, как сделать гидравлический пресс – дело каждого. И ограничивается ответ на этот вопрос только лишь фантазией и пожеланиями мастера. Немного смекалки и вот уже готово эксклюзивное устройство, отвечающее всем требованиям удобства.
Чертежная схема гидравлического пресса – все четко и ясно
Важность составления чертежей изготавливаемого своими руками гидравлического пресса
Основная задача при подобной работе – это точность и внимательность. И если размеры, к примеру, вертикальных стоек не совпадут, агрегат может давить немного в сторону, что в некоторых случаях может быть критично
А по тому составление своими руками чертежей ручного гидравлического пресса очень важно. Причем все размеры на них должны быть прописаны и просчитаны до миллиметра. А при изготовлении отступление от чертежа недопустимо
А при изготовлении отступление от чертежа недопустимо.
Пресс гидравлический чертеж которого составлен грамотно и функционировать будет идеально. Для обычной установки в гараже идеальным размером будет несущая рама 50 см шириной и до 1 м высотой.
Плюсы самостоятельной сборки
Промышленные станки для прессовки картона стоят очень дорого, поэтому многие энтузиасты начинают задаваться вопросом создания такой установки своими руками в домашних условиях. К счастью, процесс монтажа не требует больших усилий и легко решается непосредственно дома. Для этого достаточно подготовить нужные подручные средства и материалы, составить чертеж, а также найти подходящее руководство.
Установить агрегат можно в любом удобном месте, например:
- В мастерской.
- В гараже.
- В другом техническом помещении.
Для реализации прессования бумажных изделий необходимо задействовать агрегат с усилием нажима в десять тонн. Выполняя самостоятельную сборку, необходимо учитывать такие характеристики:
- Габаритные размеры.
- Вес.
- Ход поршня.
- Наличие манометра.
- Величина станины.
Чтобы осуществить нагнетание турбины, следует задействовать гидравлический пресс. Он может быть как ручным, так и встроенным, в зависимости от конструктивного исполнения станка. Наиболее простым в плане изготовления является установка с гидравлическим домкратом. По форме она напоминает бутылку со встроенным насосом.
Перед тем как приступить к сборке, важно определить тип будущего устройства, оптимальное усилие, под которым оно будет функционировать, а также найти домкрат с подходящими размерами и характеристиками. Для грамотной реализации задач по монтажу необходимо составить чертеж
Его можно скачать с любого тематического форума или попросить у знакомых мастеров. С помощью такой информации можно будет правильно рассчитать количество требуемых материалов, а также не допустить грубых ошибок на разных стадиях сборки.
Другие модели обладают немного другой конструкцией: в них домкрат находится в верхней части станины и движется вниз, оказывая воздействие на макулатуру или другой обрабатываемый груз. Затем можно рассчитывать размеры и характеристики других составляющих.
Виды гидравлических прессов
Гидравлические модели по типу конструкции разделяются на: вертикальные и горизонтальные.
К вертикальным относится:
Вертикальные модели можно встретить в строительстве и машиностроении. Они состоят из насоса высокого давления, который применяется при трудоемком прессовании. Для работы по направляющим станины используют насос низкого давления.
Области применения гидравлического пресса
Популярность гидравлики растет с каждым годом в разных областях. Такие незаменимые оборудования, промышленные прессы, экскаваторы и мощные краны эффективно работают, благодаря неприхотливому механизму. Рассмотрим прессы, которые работают на базе гидравлики и используются, как в быту, так и в промышленности.
Устройство для сайлентблоков
Прессы для сайлентблоков применяются для запрессовки и выпрессовки автомобильных подшипников. Оборудование выполняет широкий спектр работ по обслуживанию, ремонту и профилактике авто.
Запрессовка сайлентблока
При разработке агрегата, нужно учесть следующие параметры:
- Размеры.
- Массу.
- Установку манометра.
- Рассчитать параметры станины.
- Показатели поршня.
Для разработки данного пресса есть множество параметров. У одних в гаражеможет стоять легковая машина 1 тонны, у других многотонный грузовик. Простой пресс с минимальными параметрами не подойдет для грузовой машины.
Простая модель своими руками
Описание модели для макулатуры
Пресс для макулатуры просто необходим для дома и мастерской. За годы во многих домах скапливается количество ненужных бумаг, которые необходимо утилизировать. Устройство производится средней мощности. И работает от электросети, но не поглощает много электричества.
Как использовать оборудование
Компактное модель в состоянии утилизировать множество ненужной макулатуры. Оборудование используется, как и пресс для картона, устраняет банки из жести и пластиковые бутылки.
При самостоятельной сборке учитываются следующие параметры:
- Вес.
- Параметры поршня.
- Параметры станины.
- Размеры оборудования.
Механическая модель пресса для пластиковых бутылок и разной ветоши
Для давления применяется гидравлический насос (ручной или готовый). Для самой простой модели используется обычный гидравлический домкрат.
Брикеты для опилок
Брикеты распространены для отопления частных домов, это самый простой и эффективный способ топлива. Вот для этих целей и изготовляется пресс для опилок.
Гидравлика для переработки опилок
Пресс для топливных брикетов представляет собой механический прибор, который состоит из следующих элементов:
- Основание.
- Стол.
- Силовой каркас.
- Привод (механический или ручной).
Чертеж простого пресса для топливных брикетов
Для ручного привода часто в качестве дополнения используется домкрат, а для механического электромотор. Также к семейству брикет прессов можно отнести и валковый пресс.
Оборудование для переработки сена
Устройство выглядит, как древесный короб, который посажен на раму из надежного бруса. В качестве рамы можно использовать и металлические профили.
Прессованное оборудование для сена
Сам короб делается без крыши, но с калиткой. Чтобы сделать самодельный пресс подборщика для сена, понадобятся кое-какие материалы:
- Предварительно обработанные доски.
- Уголки .
- Рейки из металла для прочности.
Простая схема пресса для сена своими руками: чертеж и размеры
Вначале обработанные доски соединяются металлическими уголками, при помощи крепежных болтов. Затем, для прочности оббиваем короб металлическими рейками. Переходим к дверце или калитки, которая устанавливается на петли, как стандартное дверное полотно.
Для сборки подборочного аппарата для сена понадобится:
- Основа для установки всех узлов.
- Основная часть крепления к лобовине.
- Для пресс короба ходовой элемент.
- Транспортный подборщик.
- Камера, цилиндрической формы, с прессом и коробкой передач.
Как сделать прибор для гаража самостоятельно
Если вы хотите сделать своими руками в гараже пресс, то лучше всего использовать ручной привод (гидравлический насос). Модель состоит из камер с 2-мя поршнями, которые соединяются между собой маслопроводом. Гидравлический пресс действует по закону Паскаля.
Самая популярная модель на основе гидравлики
Для гаража создаются модели, основанные на пневматическом поршне, пневмогидравлические конструкции.
Малогабаритный пневматический пресс своими руками для гаража
Гидравлический пресс для СТО
На станциях технического обслуживания автомобилей можно провести отдельные ремонтные работы только с помощью гидравлического пресса. К задачам автомобильного пресса относятся:
- установка и демонтаж подшипников, вкладышей, шайб, других деталей, которые необходимо впрессовывать;
- работы, связанные со штамповкой и калибровкой;
- кузовные и ремонтные работы, где требуется изменение конфигурации металлической детали. Производства выравнивания, правки или изгиба, то есть придания требуемой формы.
Гидравлический пресс для автосервиса
В большинстве случаев пресс для СТО имеет ручное управление или автоматический привод. Такие агрегаты имеют следующую компоновку:
- движение рабочего поршня происходит сверху вниз;
- создание требуемого давления в рабочем цилиндре осуществляется ручным приводом или с помощью подключенного компрессора. Второй способ существенно увеличивает скорость работы всего агрегата;
- функционально это многопозиционные прессы. Имеется возможность дополнительной установки различных насадок. Это существенно расширяет количество выполняемых операций.
К основным техническим характеристикам относят допустимое максимальное усилие (оно обычно изменяется в пределах от пяти до двадцати тонн) и величину хода поршня. Первый параметр позволяет определить возможности пресса по работе с какими по толщине деталями можно работать. Второй параметр определяет габариты обрабатываемых деталей.
Иногда на СТО, в ремонтных мастерских, частных гаражах применяют так называемые настольные модели гидравлических прессов. К таким прессам предъявляют такие же требования, как и к стационарным, с учётом их размещения и конструктивной компоновки.
При эксплуатации гидравлического пресса в условиях мастерской следует учитывать налагаемые ограничения на габариты обрабатываемых деталей и реальные размеры самого помещения, где установлен пресс. Поэтому для оптимизации рабочего пространства на СТО или в гараже применяют гидравлические пресс, имеющий небольшие геометрические размеры и массу.










